型 號:CU-SJ型
規 格:2.4T
公司名稱:日本NETSUREN三木
保質周期:12
價 格(≤ 1) ¥電議 /臺
優惠價格(≥ 5):電議


▲三木CU-SJ型混凝土夾鉗抬起時,不損壞混凝土制品;
▲CU-SJ型混凝土夾具的釋放鉤允許夾具自動打開;
▲三木CU-SJ型混凝土夾鉗可用于長U型的300,400和500的類型。
▲CU-SJ型混凝土夾具的尺寸刻在夾具的方管部分上。
▲開口尺寸可調整,尺寸詳情見參數

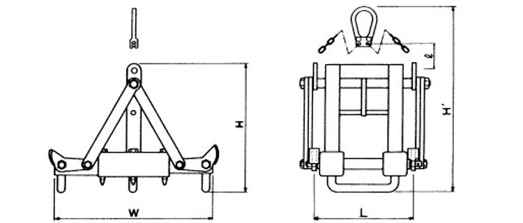
三木CU-SJ型混凝土夾鉗尺寸圖:

三木CU-SJ型混凝土夾鉗參數:
| 使用荷重 | 適用內幅尺寸 | W | H' | l | L | 自重kg |
| 2.4T |
276-300 366-400 456-500 |
375 | 927 | 600 | 282 | 25 |
注:由于產品不斷改良,廠家參數變動、改動不做另行通知,以實物為準,或咨詢銷售人員!

三木CU-SJ型混凝土夾鉗屬于日本NETSUREN三木原裝進口的產品,保質12個月(易損件除外)。凡客戶從我公司訂購此品牌產品,如收到貨物時發現有假貨、仿貨,均以貨值100倍金額賠償。
更多產品規格選型問題:鋼板夾鉗,或咨詢我司銷售人員:05356106706曲女士!