型 號:SBT
規 格:500kg
公司名稱:日本鷹牌EAGLE CLAMP
保質周期:
價 格(≤ 1) ¥電議 /臺
優惠價格(≥ 5):電議


鷹牌SBT螺旋式鋼板起重鉗特點:
● 鷹牌SBT螺旋式鋼板起重鉗為JIS錐形材料用夾鉗,5倍以上安全系數
● SBT型鷹牌螺旋式鎖緊吊夾具鋼制本體,全方向性起吊,可縱向吊、橫向吊、水平吊等;
● SBT型鷹牌螺旋式鎖緊吊夾具高強度鋼制本體、高強度合金鋼凸輪,壽命長。
用途:縱吊、橫吊、水平吊(全方向性),搬運、焊接、組裝、建人?裝載等應用。
適用鋼材:鷹牌SBT型螺旋式鋼板鉗適用于JIS錐形材料(I型鋼·槽鋼)等鋼材。

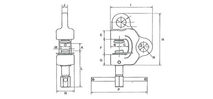
鷹牌SBT螺旋式鋼板起重鉗尺寸圖:

鷹牌SBT螺旋式鋼板起重鉗參數:
| 型式 |
使用荷重 kg |
有效板厚 mm A |
尺寸mm |
質量 kg |
|||||||||||||||||
| B | C | D | E | F | G | H | I | J | K | L | M | N | O | P | Q | R | S | ||||
| SBT-500 | 100~500 | 1~17 | 23 | 25 | Φ27 | 22 | 41 | 29 | 140 | 112 | 15 | 24 | 99 | Φ22 | 46 | Φ27.5 | 150 | Φ15 | 24 | Φ27 | 1.8 |
注:由于產品不斷改良,當外形與參數變更時,均以實物為主,想要了解更多產品詳情可電話聯系我們.

鷹牌SBT螺旋式鋼板起重鉗屬于日本EAGLE CLAMP鷹牌原裝進口的產品,保質12個月(易損件除外)。凡客戶從我公司訂購此品牌產品,如收到貨物時發現有假貨、仿貨,均以貨值100倍金額賠償。